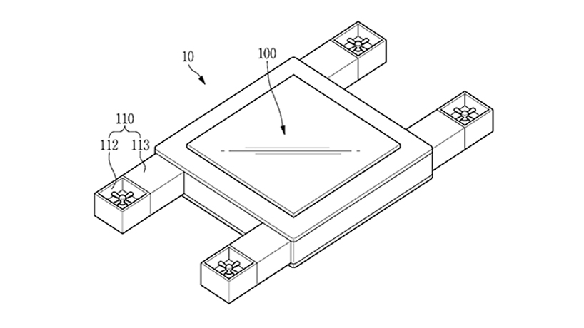
samsung’s patent for a ‘flying display,’ was approved february 13, 2018. it’s no box of chocolates, but happy late valentines day to them. the patent — filed january 3rd, 2016 — blandly describes a screen, hooked to a square drone, powered by 4 propellers, controlled by tracking a user’s eye-and-or-hand movements.

samsung drone patent
a block diagram schematically illustrating the display device
all images courtesy of united states patent and trademark office

 

 

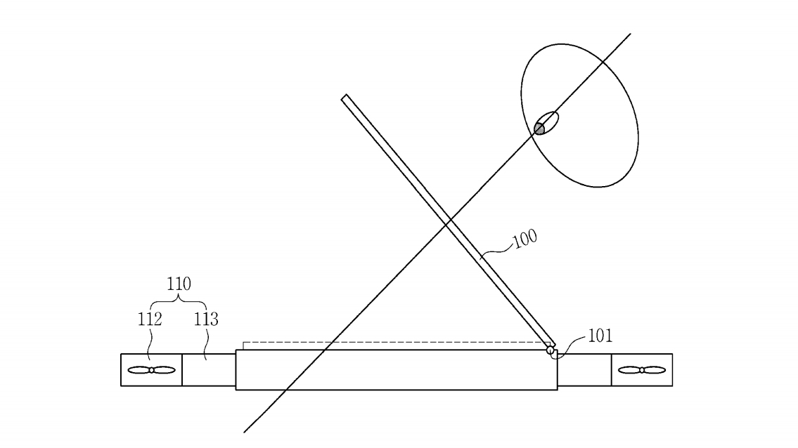
you can read the full document, here. for you, busy people: the green-lit ‘flying display’ might include an observation system, posture correction, voice recognition, a vibration system, an obstacle detection unit, and, as always, that good stuff, wi-fi. samsung describes their invention as, ‘a display device capable of changing an angle thereof based on a gaze of a user while moving along with the user by automatically tracking the user, without an additional operation performed by the user.’ what do you think?

 

 

 

samsung drone patent

a perspective view of the display device

 

 

 

samsung drone patent

a side view of the display device